
| 設備供電 | DC5V供電或內置電池供電 |
| 記錄容量 |
普通版:26萬組(默認) 旗艦版:208萬組 |
| 變送器電路工作溫濕度 | -20℃~+60℃,0%RH~95%RH(無凝露) |
| 記錄間隔 | 5秒~18小時可設置 |
| 測量更新時間 | 2~255秒可設置 |
| 電池壽命 |
充滿電的情況下,10分鐘記錄一次可使用1年 電池最大循環充放電次數1200次 |
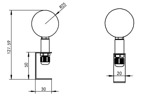
| 黑球直徑 | 50mm |
| 黑球溫度測量范圍 | -40~+120℃ |
| 黑球溫度測量精度 |
普通精度:±0.2℃(25℃) 高精度:±0.1℃(25℃) |
| 溫度分辨率 | 0.1℃ |
| 平均輻射系數 | 典型精度0.95 |
| 黑球防護等級 | IP67 |
| 安裝方式 | 三腳架固定 |

| RS- | 公司代號 | |||
| HQ- | 黑球溫度變送器 | |||
| USB- | USB記錄 | |||
| 空 | 無三腳架 | |||
| SJJ | 帶三腳架固定 | |||