
| 設備供電 | DC5V供電或內置電池供電 |
| 功耗 | 4G選型,0.018W(10min上傳一次數據) |
| 通信接口 | 4G,中國移動、中國聯通或中國電信的手機網絡 |
| 數據上傳 |
4G進行數據上傳,電池供電狀態下數據上傳間隔可設, 電源供電狀況下1分鐘上傳1次 |
| 上傳平臺 | 掃碼連微信平臺 |
| 黑球溫度測量范圍 | -40~+120℃ |
| 變送器電路工作溫濕度 | -20℃~+60℃,0%RH~95%RH(非結露) |
| 黑球溫度測量精度 |
普通精度:±0.2℃(25℃) 高精度:±0.1℃(25℃) |
| 溫度顯示分辨率 | 0.1℃ |
| 溫度刷新時間 | 1s |
| 平均輻射系數 | 典型精度0.95 |
| 黑球防護等級 | IP67 |
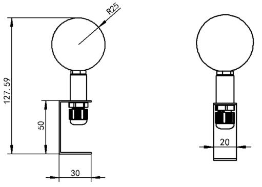
| 安裝方式 | 三腳架固定 |
| 電池供電時長 |
4G選型,無供電狀態、10min上傳一次數據情況下, 一次充電可使用40天 |

| RS- | 公司代號 | |||
| HQ- | 黑球溫度變送器 | |||
| 4G- | 4G輸出 | |||
| 空 | 無三腳架 | |||
| SJJ | 帶三腳架固定 | |||